GUIDE PER CASSETTI

GUIDE PER CASSETTI

0,00 €
Categoria: Ferramenta tags: Accessori
Condividi su:

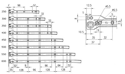
GUIDE PER CASSETTI cm 25;30;35;40;45;50;55;60; BIANCA E MARRONE

Hai già trovato l'offerta che cercavi?

Chiamaci subito o vieni a trovarci per non perdere l'occasione!